National Service Hotline:
+86-372-2595077/2595078/2595088
Purpose
This series of products is applied to high-frequency response proportional directional valves and proportional pressure valves, which integrate non-contact high-precision LVDT displacement sensors; Electromagnets have a proportional relationship between current and force, and have good dynamic response characteristics and small hysteresis loops; Can be applied to Rexroth 4WRPH6, 4WRPEH6, 4WRPH10, 4WRPEH10, 4WRPE EA, DBETBEX and other high- frequency sounding valves.
GP45K4 and GP61K4 Series Key Parameters
Code | GP45K4-GWXF005 | GP61K4-GWXF005 |
Rated Current (A) | 2.7 | 3.7 |
Rated Resistance 20℃ (Ω) | 3 | 2.5 |
Rated Force (N) | 85 | 180 |
Rated Stroke (mm) | 3 | 4 |
Total Stroke (mm) | ≥6 | ≥9 |
Force Lag Characteristic (%) | ≤4 | ≤4 |
Static Oil Pressure (MPa) | 21 | 21 |
Oil Temperature of Work (℃) | -20~+70 | -20~+70 |
Protection Grade | IP65 | IP65 |
Displacement force characteristic curve

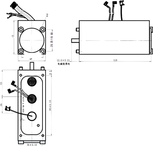
Externality &Installation Dimensions
GP45K4-GWXF005 Proportional valve solenoid

GP61K4-GWXF005 Proportional valve solenoid

Chinese
English
Русский
Español